Aug . 2023
Le protocole ANT+ est une technologie de transmission sans fil à faible consommation principalement utilisée pour le transfert de données entre appareils de fitness, capteurs sportifs et appareils intelligents. Il fonctionne sur la fréquence 2,4 GHz et offre des caractéristiques de faible consommation d'énergie, de faible latence et de haute fiabilité. Applications étendues du protocole ANT+ dans l'industrie du fitness, telles que la surveillance de la fréquence cardiaque, le comptage des pas et le suivi des mouvements. Par conséquent, pour les appareils sportifs compacts, les modules ANT+ doivent non seulement prendre en compte la consommation d’énergie, mais également se concentrer sur la conception de modules miniaturisés. La conception de modules de petite taille facilite l'intégration et contribue à réduire le volume et le poids globaux des appareils. De plus, il existe une demande pour des solutions modulaires personnalisées dans des scénarios d'application spécifiques.

Le module RF51422 est un module émetteur-récepteur sans fil ANT+ à interface UART, équipé d'une puce système sur puce (SOC) hautes performances et d'une pile de protocoles ANT+ intégrée. Les clients peuvent établir une communication entre les appareils ANT+ directement via des commandes UART standard, ce qui le rend adapté au développement de produits conformes au protocole ANT+ standard. Ce module est compatible avec la majorité des appareils à protocole ANT+ disponibles sur le marché. Le module RF51422 est produit et testé à l'aide d'une technologie sans plomb, conformément aux normes RoHS et Reach.

Le module RF51422 comprend les profils ANT+ intégrés suivants :
Ces profils ANT+ intégrés permettent au module RF51422 de prendre en charge une large gamme d'applications et de fournir une connectivité et une transmission de données transparentes pour divers appareils compatibles ANT+.
Les paramètres de performances du RF51422 sont les suivants :
Paramètre | Min. | TP | Max. | Unité | Condition |
Conditions de fonctionnement | |||||
Tension d'alimentation | 1.8 | 3.3 | 3.6 | V |
|
Plage de température de fonctionnement | -40 | 25 | 85 | ℃ |
|
Consommation actuelle | |||||
Courant d'émission |
| 6.8 | 8 | mA | @3,3 V |
Recevoir le courant |
| 2.9 |
| mA | @3,3 V |
Courant de sommeil |
| 0,26 |
| mA |
|
Après la mise sous tension du module, il ouvrira automatiquement le canal de numérisation du périphérique ANT+ et affichera un message de démarrage via le port série. À ce stade, si des appareils ANT+ transmettent des données, le port série émettra en continu les données reçues. Si vous n'avez pas besoin de ce canal de scan, vous pouvez le fermer à l'aide de commandes spécifiques. Le module dispose de trois modes de fonctionnement : mode normal, mode veille et mode de mise à niveau du micrologiciel. Une autre caractéristique de ce module est sa conception de petite taille.
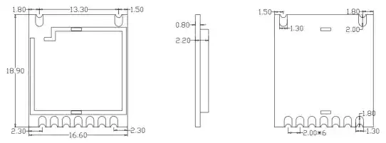
Dimensions mécaniques du module (unité : mm, tolérance : ±0,01 mm)

Pour le module d'interface de protocole ANT+, le module RF51422 répond non seulement aux exigences de faible consommation d'énergie et de conception de petite taille, mais offre également des solutions personnalisées adaptées aux besoins spécifiques. Des dimensions, fonctionnalités aux performances, de la conception, du développement aux tests, NiceRF se concentre sur la création de solutions personnalisées pour garantir la qualité et les performances des modules personnalisés.
+86-755-23080616
sales@nicerf.com
Site Internet : https://www.nicerf.com/
Adresse : 309-314, 3/F, bâtiment A, bâtiment commercial de Hongdu, zone 43, Baoan Dist, Shenzhen, Chine
politique de confidentialité
· Politique de confidentialité
Il n'y a actuellement aucun contenu disponible
Courriel : sales@nicerf.com
Tél : +86-755-23080616